报喜鸟(002154)4月12日披露2023年年报。2023年,公司实现营业总收入52.54亿元,同比增长21.82%;归母净利润6.98亿元,同比增长52.11%;扣非净利润6.05亿元,同比增长61.61%;经营活动产生的现金流量净额为11.54亿元,同比增长123.87%;报告期内,报喜鸟基本每股收益为0.48元,加权平均净资产收益率为16.96%。公司2023年年度利润分配预案为:拟向全体股东每10股派2.5元(含税)。
以4月11日收盘价计算,报喜鸟目前市盈率(TTM)约为12.86倍,市净率(LF)约为2.07倍,市销率(TTM)约为1.71倍。
公司近年市盈率(TTM)、市净率(LF)、市销率(TTM)历史分位图如下所示:
数据统计显示,报喜鸟近三年营业总收入复合增长率为11.52%,在非运动服装行业已披露2023年数据的6家公司中排名第1。近三年净利润复合年增长率为23.95%,排名1/6。
资料显示,公司主营业务为品牌服装的研发、生产和销售。
分产品来看,2023年公司主营业务中,上衣收入10.69亿元,同比增长14.17%,占营业收入的20.35%;裤子收入9.42亿元,同比增长19.54%,占营业收入的17.93%;衬衫收入8.69亿元,同比增长16.98%,占营业收入的16.53%。
截至2023年末,公司员工总数为8251人,人均创收63.67万元,人均创利8.46万元,人均薪酬12.09万元,较上年同期分别变化12.59%、40.59%、-1.61%。
2023年,公司毛利率为64.71%,同比上升1.97个百分点;净利率为13.87%,较上年同期上升2.83个百分点。从单季度指标来看,2023年第四季度公司毛利率为64.93%,同比上升4.74个百分点,环比上升2.22个百分点;净利率为9.52%,较上年同期上升3.10个百分点,较上一季度下降3.52个百分点。
分产品看,上衣、裤子、衬衫2023年毛利率分别为60.51%、62.23%、69.89%。
报告期内,公司前五大客户合计销售金额5.91亿元,占总销售金额比例为11.25%,公司前五名供应商合计采购金额5.14亿元,占年度采购总额比例为24.35%。
数据显示,2023年公司加权平均净资产收益率为16.96%,较上年同期增长5.74个百分点;公司2023年投入资本回报率为14.05%,较上年同期增长4.06个百分点。
2023年,公司经营活动现金流净额为11.54亿元,同比增长123.87%;筹资活动现金流净额-8168.39万元,同比增加4.50亿元;投资活动现金流净额-6.65亿元,上年同期为-4.88亿元。
进一步统计发现,2023年公司自由现金流为4.07亿元,相比上年同期增长356.94%。
2023年,公司营业收入现金比为104.19%,净现比为165.31%。
营运能力方面,2023年,公司公司总资产周转率为0.81次,上年同期为0.71次(2022年行业平均值为0.53次,公司位居同行业6/35);固定资产周转率为11.88次,上年同期为9.98次(2022年行业平均值为5.61次,公司位居同行业6/35);公司应收账款周转率、存货周转率分别为8.38次、1.59次。
2023年,公司期间费用为24.60亿元,较上年同期增加4.20亿元;但期间费用率为46.83%,较上年同期下降0.47个百分点。其中,销售费用同比增长18.71%,管理费用同比增长32.71%,研发费用同比增长30.34%,财务费用由去年同期的-3342.96万元变为-4985.24万元。
资产重大变化方面,截至2023年年末,公司投资性房地产较上年末减少29.09%,占公司总资产比重下降4.91个百分点;交易性金融资产较上年末增加193.01%,占公司总资产比重上升4.83个百分点;在建工程较上年末增加225.04%,占公司总资产比重上升4.14个百分点;存货较上年末减少2.36%,占公司总资产比重下降3.36个百分点。
负债重大变化方面,截至2023年年末,公司短期借款较上年末增加97.88%,占公司总资产比重上升3.16个百分点;应付职工薪酬较上年末增加47.62%,占公司总资产比重上升0.66个百分点;应付账款较上年末增加19.39%,占公司总资产比重上升0.09个百分点;应付票据较上年末增加43.86%,占公司总资产比重上升0.55个百分点。
从存货变动来看,截至2023年年末,公司存货账面价值为11.51亿元,占净资产的26.52%,较上年末减少2785.7万元。其中,存货跌价准备为9958.96万元,计提比例为7.96%。
2023年全年,公司研发投入金额为1.09亿元,同比增长30.34%;研发投入占营业收入比例为2.07%,相比上年同期上升0.14个百分点。此外,公司全年研发投入资本化率为0。
在偿债能力方面,公司2023年年末资产负债率为36.64%,相比上年末上升4.23个百分点;有息资产负债率为10.27%,相比上年末上升3.80个百分点。
2023年,公司流动比率为1.84,速动比率为1.38。
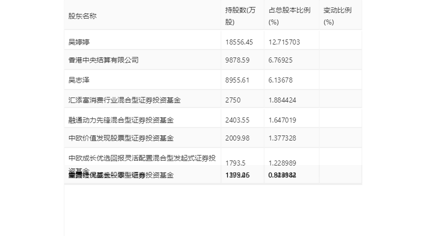
年报显示,2023年年末公司十大流通股东中,新进股东为融通动力先锋混合型证券投资基金、中欧成长优选回报灵活配置混合型发起式证券投资基金,取代了三季度末的南方兴润价值一年持有期混合型证券投资基金、易方达基金-中央汇金资产管理有限责任公司-易方达基金-汇金资管单一资产管理计划。在具体持股比例上,香港中央结算有限公司、汇添富消费行业混合型证券投资基金、中欧价值发现股票型证券投资基金、南方绩优成长股票型证券投资基金持股有所上升,吴志泽、吴特持股有所下降。
值得注意的是,根据年报数据,报喜鸟11.76%股份处于质押状态。其中,第二大股东吴婷婷质押9785.00万股公司股份,占其全部持股的52.73%。
筹码集中度方面,截至2023年年末,公司股东总户数为4.74万户,较三季度末增长了1718户,增幅3.76%;户均持股市值由三季度末的21.22万元下降至17.49万元,降幅为17.58%。
指标注解:
市盈率
=总市值/净利润。当公司亏损时市盈率为负,此时用市盈率估值没有实际意义,往往用市净率或市销率做参考。
市净率
=总市值/净资产。市净率估值法多用于盈利波动较大而净资产相对稳定的公司。
市销率
=总市值/营业收入。市销率估值法通常用于亏损或微利的成长型公司。
文中市盈率和市销率采用TTM方式,即以截至最近一期财报(含预报)12个月的数据计算。市净率采用LF方式,即以最近一期财报数据计算。
市盈率为负时,不显示当期分位数,会导致折线图中断。
(文章来源:中国证券报·中证网)






























