深圳能源(000027)4月20日披露2023年年报。2023年,公司实现营业总收入405.04亿元,同比增长7.94%;归母净利润20.46亿元,同比下降6.94%;扣非净利润21.63亿元,同比下降3.11%;经营活动产生的现金流量净额为119.30亿元,同比增长23.95%;报告期内,深圳能源基本每股收益为0.27元,加权平均净资产收益率为4.52%。公司2023年年度利润分配预案为:拟向全体股东每10股派1.4元(含税)。
以4月19日收盘价计算,深圳能源目前市盈率(TTM)约为17.07倍,市净率(LF)约为0.75倍,市销率(TTM)约为0.86倍。
公司近年市盈率(TTM)、市净率(LF)、市销率(TTM)历史分位图如下所示:
数据统计显示,深圳能源近三年营业总收入复合增长率为25.58%,在火力发电行业已披露2023年数据的14家公司中排名第1。近三年净利润复合年增长率为-19.92%,排名9/14。
年报显示,报告期内,公司所从事的主要业务是各种常规能源和新能源的开发、生产、购销,以及城市固体废物处理、废水处理和城市燃气供应等。
分产品来看,2023年公司主营业务中,电力-燃煤收入137.73亿元,同比增长2.35%,占营业收入的34.00%;电力-燃机收入92.02亿元,同比增长39.05%,占营业收入的22.72%;生态环保收入77.45亿元,同比下降1.64%,占营业收入的19.12%。
2023年,公司毛利率为22.55%,同比上升5.20个百分点;净利率为6.87%,较上年同期上升0.28个百分点。从单季度指标来看,2023年第四季度公司毛利率为17.47%,同比上升0.79个百分点,环比下降9.44个百分点;净利率为-6.87%,较上年同期下降10.89个百分点,较上一季度下降18.61个百分点。
分产品看,电力-燃煤、电力-燃机、生态环保2023年毛利率分别为11.76%、15.95%、28.78%。
报告期内,公司前五大客户合计销售金额252.93亿元,占总销售金额比例为62.45%,公司前五名供应商合计采购金额78.30亿元,占年度采购总额比例为24.96%。
数据显示,2023年公司加权平均净资产收益率为4.52%,较上年同期下降0.60个百分点;公司2023年投入资本回报率为4.17%,较上年同期增长0.17个百分点。
2023年,公司经营活动现金流净额为119.30亿元,同比增长23.95%;筹资活动现金流净额56.91亿元,同比增加2.52亿元;投资活动现金流净额-146.02亿元,上年同期为-141.95亿元。
进一步统计发现,2023年公司自由现金流为-27.94亿元,上年同期为-78.59亿元。
2023年,公司营业收入现金比为115.53%,净现比为583.10%。
营运能力方面,2023年,公司公司总资产周转率为0.27次,上年同期为0.27次(2022年行业平均值为0.42次,公司位居同行业25/28);公司应收账款周转率、存货周转率分别为3.09次、21.40次。
资产重大变化方面,截至2023年年末,公司在建工程较上年末增加123.45%,占公司总资产比重上升4.76个百分点;固定资产较上年末减少2.73%,占公司总资产比重下降4.38个百分点;存放同业款项较上年末增加33.33%,占公司总资产比重上升0.85个百分点;应收账款较上年末增加3.17%,占公司总资产比重下降0.46个百分点。
负债重大变化方面,截至2023年年末,公司长期借款较上年末增加38.29%,占公司总资产比重上升5.28个百分点;其他流动负债较上年末增加89.94%,占公司总资产比重上升2.44个百分点;应付债券较上年末减少17.71%,占公司总资产比重下降2.71个百分点;一年内到期的非流动负债较上年末减少32.86%,占公司总资产比重下降2.30个百分点。
从存货变动来看,截至2023年年末,公司存货账面价值为13.7亿元,占净资产的2.93%,较上年末减少1.92亿元。其中,存货跌价准备为7661.33万元,计提比例为5.3%。
2023年全年,公司研发投入金额为3.06亿元,同比下降12.64%;研发投入占营业收入比例为0.75%,相比上年同期下降0.18个百分点。此外,公司全年研发投入资本化率为43.15%。
在偿债能力方面,公司2023年年末资产负债率为63.62%,相比上年末上升2.07个百分点;有息资产负债率为39.01%,相比上年末上升0.92个百分点。
2023年,公司流动比率为1.03,速动比率为0.99。
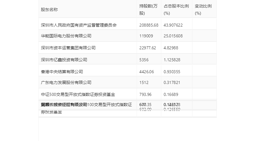
年报显示,2023年年末公司十大流通股东中,新进股东为景顺长城中证红利低波动100交易型开放式指数证券投资基金、刘茜,取代了三季度末的李翔华、王少华。在具体持股比例上,深圳市亿鑫投资有限公司持股有所上升,香港中央结算有限公司、中证500交易型开放式指数证券投资基金持股有所下降。
筹码集中度方面,截至2023年年末,公司股东总户数为13.82万户,较三季度末增长了937户,增幅0.68%;户均持股市值由三季度末的22.11万元上升至22.21万元,增幅为0.45%。
指标注解:
市盈率
=总市值/净利润。当公司亏损时市盈率为负,此时用市盈率估值没有实际意义,往往用市净率或市销率做参考。
市净率
=总市值/净资产。市净率估值法多用于盈利波动较大而净资产相对稳定的公司。
市销率
=总市值/营业收入。市销率估值法通常用于亏损或微利的成长型公司。
文中市盈率和市销率采用TTM方式,即以截至最近一期财报(含预报)12个月的数据计算。市净率采用LF方式,即以最近一期财报数据计算。
市盈率为负时,不显示当期分位数,会导致折线图中断。
(文章来源:中国证券报·中证网)




























